Police, Crime, Sentencing and Courts Act 2022, last updated on the 14th July 2022

Public Order Bill, last updated on the 22nd July 2022

TFL Protest Footage: Transport for London surveillance footage stills taken by RAKE Collective from the march against Islamophobia, ending at Parliament Square on 26/06/21

Biometrics: a guide published by the Government Office of Science

Trauma chart – front and rear view (with primary, secondary and final target areas indicated), excerpt from Defensive Tactics Manual

Examining certain patterns of a fingerprint through 3D visualisation and characteristic analysis

Which Cities Have the Highest Camera Density? Interactive map, published by Visual Capitalist in 2021

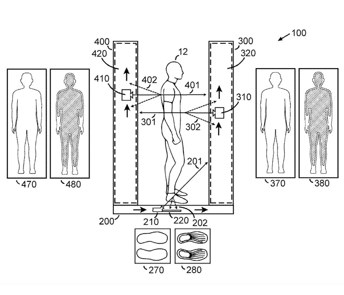
Diagram showing an X-ray Transmission Imaging body scanner using backscatter technology

Tags Archive for #KilltheBill on Twitter tracked by RAKE Collective on the 17th January 2022

Feature extraction process for iris biometric identification

Biometrics in ID System Analysis via Privacy International

Pose-Invariant Face Recognition published in a research article in 2016 by Gaoli Sang, Jing Li, and Qijun Zhao from the College of Computer Science at Sichuan University in Sichuan, China